

尼科对夹消声止回阀概述:
尼科南瓜型消声止回阀的作用是只允许介质向一个方向流动,而且阻止方向流动。通常这种阀门是自动工作的,在一个方向流动的流体压力作用下,阀瓣打开;流体反方向流动时,由流体压力和阀瓣的自重合阀瓣作用于阀座,从而切断流动。不宜用于含有固体颗粒和粘度较大的介质。
止回阀的启闭件靠介质流动和力量自行开启或关闭,以防止介质倒流。止回阀一般分为升降式、旋启式、蝶式及卧式等四种类型,通式升降式止回阀应安装于水平管路上,立式升降式止回阀和底阀一般安装在垂直管路上,并且介质自下而上流动,旋启式止回阀安装位置不受限制,通常安装于水平管路,但也可以安装于垂直管路或倾料管路上。注意:止回阀只允许介质向一个方向流动,应特别注意介质流动方向,应使介质正常流动方向与阀体上指示的箭头方向相一致,否则就会截断介质的正常流动。
尼科对夹消声止回阀参数:
公称通径:DN40-DN300
公称压力:1.0Mpa-1.6Mpa
适用温度:0℃~85℃
适用介质:水、油品
阀体材质:铸铁
连接方式:对夹法兰连接
设计标准:JBJ16006-90
检验标准:JBJ16006
法兰标准:GB9113.3
尼科对夹消声止回阀特性:
①阀瓣采用"子弹头"外形设计,阀体采用"腰鼓"外形设计,改善介质流向,降低流阻系数;
②阀门采用短结构形式,虽然水头损失比升降式静音止回阀稍大些,但体积小、价格便宜;
③结构紧凑,导向轴与导向架之间装有非金属润滑套,阀瓣升降灵活,不会产生抱死现象;
④骨架式橡胶密封圈直接镶嵌在阀体上,避免了介质长时间对密封圈的直接冲刷,使用寿命明显延长,坚固耐用;
⑤阀瓣启闭行程短,可以有效的防止水锤产生;
⑥适用于给排水系统,高层建筑管网,可安装在泵的出口处,结构稍加改动,可做为吸水底阀使用,但不适用于污水管网。
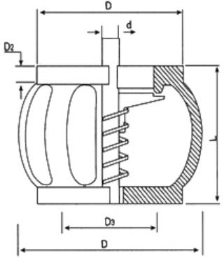
尼科对夹消声止回阀尺寸:

主要连接外形和尺寸 单位:mm
通径
40
50
65
80
100
125
150
200
250
300
L
60
60/70
70/85
85/90
90/105
125/130
135/150
175/195
200/250
250/300
D
120
135
155
170
200
235
270
320
380
430
尼科H71X对夹消声止回阀的结构特点只允许介质向一个方向流动,而且阻止方向流动。通常这种阀门是自动工作的,在一个方向流动的流体压力作用下,阀瓣打开;流体反方向流动时,由流体压力和阀瓣的自重合阀瓣作用于阀座,从而切断流动。不宜用于含有固体颗粒和粘度较大的介质。当介质按规定方向流动时,阀瓣受介质力的作用,被开启;介质逆流时,因阀瓣自重和阀瓣受介质反向力的作用,使阀瓣与阀座的密封面密合而关闭,达到阻止介质逆流的目的。



