当前位置: 首页 > 产品展示 > 通用阀门 > 尼科排气阀
产品展示


尼科活塞式全压高速排气阀
详情信息
尼科NIKO(中国)办事处-江苏尼科阀业有限公司提供【活塞式全压高速排气阀】标准、图纸、原理、参数、认证、说明书。质量可靠,价格合理,售后优质。我们拥有专业的生产技术图纸和完整的技术服务方案,为用户提供一站式的系统解决方案。
尼科活塞式全压高速排气阀概述:
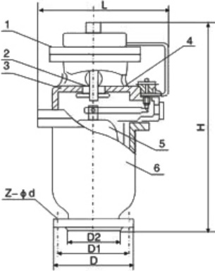
尼科全压高速排气阀由下阀体,中阀体,浮筒,浮筒杆,阀芯,盖板,活塞杆,膜片及阀盖等组成的全压高速排气阀,其特征是通过销轴与浮筒铰接的浮筒杆可绕主轴转动,并由此实现通过浮筒升降控制阀芯的升降启闭,即当浮筒下降(阀体里充满气体)时,阀芯上升,打开小阀口,并关闭小排气帽上的排气口,使气体通过导管进入液压罐内,当浮筒在浮力作用下上升时候,阀芯下降,关闭小阀口,同时打开排气帽上的排气口,使液压罐通过导管,直通大气泄压,且当浮筒下降,液压缸内充满气体时,阀门上的大排气口自动关闭。当水泵停止,管内水流空时或遇到管内产生负压时,吸入空气,确保管线安全。
暖通系统及暖通空调系统在运行过程中,水在加热时释放的气体如氢气、氧气等带来的众多不良影响会损坏系统及降低热效应,这些气体如不能及时排掉会产生很多不良后果。诸如:由氧化导致的腐蚀;散热器里气袋的形成;热水循环不畅通不平衡,使某些散热器局部不热;管道带气运行时的噪声;循环泵的涡空现象。所以系统中的废气必须及时排出,由此可见运用自动排气阀的重要作用。
尼科活塞式全压高速排气阀参数:
公称通径:DN20-DN400
公称压力:1.0Mpa-2.5Mpa
适用温度:-20℃~90℃
适用介质:水、水和乙二醇混合液
阀体材质:铸铁、铸钢、碳钢、不锈钢
连接方式:法兰连接
尼科活塞式全压高速排气阀特性:
全压高速排气阀是目前较先进的气缸式排气阀,在结构性能上超越了普通高速(双口)排气阀和复合式排气阀,对于管道中的气体,无论是多段水柱,气柱相间,有压无压均可连续高速排出管道,浮球不顶在排气口上,不存在卡坏问题,少量气体可通过微孔排出,管道出现负压时可注气,防气染并缓冲水锤升压,解除新建管路试车之险,排气之难,减少城市管网爆管事故,减阻节能,减少压力震荡,提高整个供水系统安全可靠性。
尼科QSP全压高速排气阀是目前较先进的气缸式排气阀,在结构性能上超越了普通高速(双口)排气阀和复合式双口排气阀,对于管道中的气体,无论是多段水柱,气柱相间,有压无压均可连续高速排出管道。
尼科活塞式全压高速排气阀概述:
尼科全压高速排气阀由下阀体,中阀体,浮筒,浮筒杆,阀芯,盖板,活塞杆,膜片及阀盖等组成的全压高速排气阀,其特征是通过销轴与浮筒铰接的浮筒杆可绕主轴转动,并由此实现通过浮筒升降控制阀芯的升降启闭,即当浮筒下降(阀体里充满气体)时,阀芯上升,打开小阀口,并关闭小排气帽上的排气口,使气体通过导管进入液压罐内,当浮筒在浮力作用下上升时候,阀芯下降,关闭小阀口,同时打开排气帽上的排气口,使液压罐通过导管,直通大气泄压,且当浮筒下降,液压缸内充满气体时,阀门上的大排气口自动关闭。当水泵停止,管内水流空时或遇到管内产生负压时,吸入空气,确保管线安全。
暖通系统及暖通空调系统在运行过程中,水在加热时释放的气体如氢气、氧气等带来的众多不良影响会损坏系统及降低热效应,这些气体如不能及时排掉会产生很多不良后果。诸如:由氧化导致的腐蚀;散热器里气袋的形成;热水循环不畅通不平衡,使某些散热器局部不热;管道带气运行时的噪声;循环泵的涡空现象。所以系统中的废气必须及时排出,由此可见运用自动排气阀的重要作用。
尼科活塞式全压高速排气阀参数:
公称通径:DN20-DN400
公称压力:1.0Mpa-2.5Mpa
适用温度:-20℃~90℃
适用介质:水、水和乙二醇混合液
阀体材质:铸铁、铸钢、碳钢、不锈钢
连接方式:法兰连接
尼科活塞式全压高速排气阀特性:
全压高速排气阀是目前较先进的气缸式排气阀,在结构性能上超越了普通高速(双口)排气阀和复合式排气阀,对于管道中的气体,无论是多段水柱,气柱相间,有压无压均可连续高速排出管道,浮球不顶在排气口上,不存在卡坏问题,少量气体可通过微孔排出,管道出现负压时可注气,防气染并缓冲水锤升压,解除新建管路试车之险,排气之难,减少城市管网爆管事故,减阻节能,减少压力震荡,提高整个供水系统安全可靠性。
尼科活塞式全压高速排气阀尺寸:

主要连接外形和尺寸 单位:mm
通径
50
65
80
100
150
200
250
300
400
H
620
620
620
620
740
780
820
850
910
尼科QSP全压高速排气阀是目前较先进的气缸式排气阀,在结构性能上超越了普通高速(双口)排气阀和复合式双口排气阀,对于管道中的气体,无论是多段水柱,气柱相间,有压无压均可连续高速排出管道。



